欢迎光临上海毅碧自动化仪表有限公司!主营:温度、压力、流量、液位仪表等咨询电话:021-39558750
    免责申明
热门关键词:热门关键词: 1 请输入查询信息!
涡街流量计
wo-jie-liu-liang-ji
  • 商品名称:蒸汽涡街流量计
  • 添加时间:2020-02-26 10:06:05
  • 联系电话:021-39558750
    联系邮箱:ebauto18@126.com
介绍:

一、用途特点

智能涡街流量计,主要用于工业管道介质流体的流量测量,如气体、液体、蒸汽等多种介质。其特点是压力损失小,量程范围大,精度高,在测量工况体积流量时几乎不受流体密度、压力、温度、粘度等参数的影响。无可动机械零件,因此可靠性高、维护量小。仪表参数能长期稳定。本仪表采用压电应力式传感器,可靠性高,可在 -25℃~+320℃的工作温度范围内工作。有模拟标准信号,也有数字脉冲信号输出,容易与计算机等数字系统配套使用,是一种比较xj****、理想的流量仪表。

二、主要技术参数

1、主要技术参数(见表1)                                        表1

测量介质

气体、液体、蒸汽

连接方式

对夹式(卡装式)、法兰式

公称口径

DN20、25、32、40、50、65、80、100、125、150、200、250、300

精度等级

1.0、1.5级

流速范围

液体:0.5~7m/s 气体:5~50m/s

温度范围

-25~100℃、-25~+280℃、-25~+320℃

压力等级

1.6MPa、2.5MPa、4.0MPa

输出信号

频率输出4~20mA输出,485通讯

供电电压

DC12V,DC24V,3.6V现场供电

防护等级

IP65

防爆等级

Exd ⅡCT4   Gb

环境条件

环境温度:-25℃~55℃

相对湿度:5~90%

大气压力:86-106KPa

2、液体、工况气体流量范围(见表2)                                                表2

通径DN(mm)

25

32

40

50

65

80

液体m³/h

1-12

1.5-23

2.4-32

4-50

6.3-84

10-130

气体m³/h

10-100

15-150

23-230

35-350

60-600

90-900

通径DN(mm)

100

150

200

250

300


液体m³/h

20-200

45-450

80-800

150-1500

200-2000


气体m³/h

140-1400

300-3000

550-5500

880-8800

1300-13000


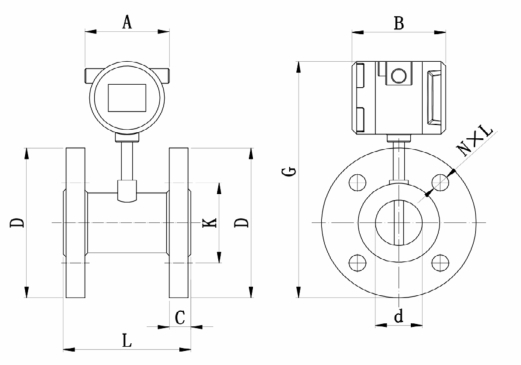
三、涡街传感器结构及尺寸

1、外形尺寸示意图

对夹式涡街

卡装式涡街.jpg

A=147

B=150

总高 =G

法兰式涡街

法兰式涡街.jpg

A=147

B=150

总高 =G

2、外形尺寸                                               表3

名称

通径mm

压力等级MPa

L(总长)mm

G(总高)

D(法兰外径)mm

D(壳体外径)mm

K(螺栓中心直径)

N×L

(数量及孔径)

常温

高温

对夹式

25

4.0

65

440

490

115

Φ57

85

4×Φ14

32

4.0

65

440

490

140

Φ65

100

4×Φ18

40

4.0

65

450

500

150

Φ75

110

4×Φ18

50

4.0

70

450

510

165

Φ87

125

4×Φ18

65

1.6

70

470

520

185

Φ109

145

4×Φ18

80

1.6

90

480

530

200

Φ120

160

8×Φ18

100

1.6

100

510

560

220

Φ149

180

8×Φ18

125

1.6

100

530

590

250

Φ175

210

8×Φ18

150

1.6

100

560

610

285

Φ203

240

8×Φ22

200

1.6

100

610

660

340

Φ259

295

12×Φ22

250

1.6

110

660

710

405

Φ312

355

12×Φ26

300

1.6

130

710

760

460

Φ363

410

12×Φ26

法兰式

25

4.0

200

470

520

115

-

85

4×Φ14

32

4.0

200

480

530

140

-

100

4×Φ18

40

4.0

200

490

550

150

-

110

4×Φ18

50

4.0

200

500

560

165

-

125

4×Φ18

65

1.6

200

510

570

185

-

145

4×Φ18

80

1.6

200

540

590

200

-

160

8×Φ18

100

1.6

200

550

600

220

-

180

8×Φ18

125

1.6

280

570

620

250

-

210

8×Φ18

150

1.6

300

620

670

285

-

240

8×Φ22

200

1.6

350

660

710

340

-

295

12×Φ22

250

1.6

380

730

780

405

-

355

12×Φ26

300

1.6

400

755

810

460

-

410

12×Φ26

1.上表所有数据仅基于标准型传感器。

2.对于口径较小的传感器,表头的尺寸可能大于传感器的尺寸。

3.其他未列出的压力等级,尺寸可能会不同。

四、产品选型

型号

通径

EB-LUGB-XXX

DN25-300  


代号

安装方式


A1

A2

A3

对夹式(卡装式)

法兰式

插入式



代号

被测介质

B1

B2 

B3

液体 

气体

蒸汽


代号

流量探头材质

C1

C2

304

316


代号

传感器材质

K1

K2

304

316

代号

精度等级

E1

E2

1.0

1.5

代号

信号输出

F1

F2

F3

F4

F5

F6

F7

F8

4-20Ma(两线制)

4-20Ma(三线制)

RS485通讯

RS485 Modbus

HART

频率输出

现场显示

4-20mA+频率+RS485

代号

温压补偿

N

Y

无温压补偿

有温压补偿

代号

温度

T1

T2

T3

常温型

中温型

高温型

代号

压力等级

P3

P4

P5

P6

1.6MPa

2.5MPa

4.0MPa

6.3MPa

代号

供电电源

D1

D2

3.6V电池供电

DC24V电源供电

代号

防护等级

U1

U3

IP65无防爆

IP65有防爆

注:DN300以上口径推荐使用插入式涡街流量计,可定制。

五、涡街的使用方法

1、功能:

1)0.8~3KHz等精度测频;

2)4-20mA输出;

3)上下限报警输出,其监控的参数、高低报警和电平输出方式可根据需要设置;

4)三路12位AD输入(温度、压力、电池电压);

5)可以0~1000Hz频率输出;

6)累积流量可记录。

7)整机平均功耗450μA。

2、使用方法(详见使用说明手册)

六、安装注意事项

涡街流量计属于对管道流速分布畸变、旋转流和流动脉动等敏感的流量计,因此,对现场管道安装条件应充分重视,遵照生产厂使用说明书的要求执行。

1、涡街流量计可安装在室内或室外。如果安装在地下井里,有水淹的可能,要选用潜水型传感器。传感器在管道上可以水平、垂直或倾斜安装,但测量液体和气体时为防止气泡和液滴的干扰,安装位置要注意,如图1所示。

安装方法.png

2、涡街流量计须***保证上、下游直管段有必要的长度,如图2所示。在各种资料中数据有差异,其原因可能是旋涡发生体尚未标准化,形状尺寸的差异有多少影响尚待验证;对各类阻流件必要的直管段长度试验研究尚不够,即还不成熟,对比节流式差压流量计,这方面工作还处于初始阶段。

图2.png


3、传感器与管道的连接如图3所示。在与管道连接时要注意以下问题。

图3.png


1)上、下游配管内径D与传感器内径D′相同,其差异满足下述条件:0.95D≤D′≤1.1D。

2)配管应与传感器同心,同轴度应不小于0.05D′

3)密封垫不能凸入管道内,其内径可比传感器内径大1~2mm

4)如需断流检查与清洗传感器,应设置旁通管道如图4所示。

图4.png

5)源小振动对涡街流量计的影响应该作为涡街流量计现场安装的一个突出问题来关注。首先在选择传感器安装场所时尽量注意避开振动源。其次采用弹性软管连接,在*********中可以考虑。第三,加装管道支撑物是有效的减振方法,一种管道支撑方法如图5所示。

图5.png

4、电气安装应注意传感器与转换器之前采用屏蔽电缆或低噪声电缆连接,其距离不应超过使用说明书的规定。布线时应远离强功率电源线,尽量用单独金属套管保护。应遵循“一点接地”原则,接地电阻应小于10Ω。整体型和分离型都应在传感器侧接地,转换器外壳接地点应与传感器“同地”。带温压补偿时安装位置,如图6所示。

图6.png

七、隔爆型产品安装使用注意事项

1、产品外壳设有接线端子,用户在使用产品时应可靠接地,但不得与强电系统的保护接地共用。

2、安装现场应不存在对铝合金有腐蚀作用的有害气体。

3、现场安装、维护须***遵守“有爆炸性气体时勿开盖”的警告语。

4、防爆外壳***高温度不得大于130℃

5、维修和换电池须***在安全场所进行;当安装现场确认无可燃性气体存在时,方可维修。

6、用户安装使用和维护产品时须***同时遵守GB3836.1-2010、GB3836.2-2010防爆标准、GB50058-92“防爆和火灾危害环境电力装置设计规程”和“中华人民共和国爆炸危险场所电气安全规程”的有关规定。

7、当使用外电源或外接信号时,电缆为橡胶电缆,外径φ8~φ8.5,若不用外电源和外接信号,电缆引出孔须用盲板封牢。

8、隔爆型用于Ⅱ类C级T4可燃性气体的1区以下的危险场所。

八、使用注意事项

(1)现场安装,维护须***遵守“有爆炸性气物体勿开盖”的警告语,并在开盖前关掉外电源。

(2)现场安装完毕通电和通流前的检查

a.主管和旁通管上各法兰、阀门、测压孔、测温孔及接接应无渗漏现象;

b.管道振动情况是否符合说明书规定;

c.传感器安装是否正确?各部分电气连接是否******?

(3)接通电源静态调试

在通电不通流时转换器应无输出,瞬时流量指示为零,累积流量无变化,否则首先检查是否因信号线屏蔽或接地不良,或管道震动强烈而引入干扰信号。如确认不是上述原因时,可调整转换器内电位器,降低放大器增益或提高整形电路触发电平,直至输出为零。

(4)通流动态调试

关旁通阀,打开上下游阀门,流动稳定后转换器输出连续的脉宽均匀的脉冲,汉量指示稳定无跳变,调阀门开度,输出随之改变,否则应细致检查并调整直至仪表输出既无误触发又无漏脉冲为止。

(5)故障现象、原因及排除方法

涡街流量计有多种检测方式,传感器和测量电路差别也较大,但仪表常见的故障有共性,现列举若干仪表故障及其对策如表4所示。

表4故障处理

故障现象

可能原因

处理方法

通电后无流量时有输出信号

1)输入屏蔽或接地不良,引入电磁干扰

2)仪表靠近强电设备或高频脉冲干扰源

3)管道有较强振动

4)转换器灵敏度过高

1)改善屏蔽与接地,排除电磁干扰

2)远离干扰源安装,采取隔离措施加强电源滤波

3)采限减震措施,加强信号滤波隆低放大器灵敏度

4)降低灵敏度,提高触发电平

通电通流后无输出信号

1)电源出故障

2)输入信号线断线

3)放大器某级有故障

4)检测元件损坏

5)无流量或流量过小

6)管道堵塞或传感器被卡死

1)检查电源与接地

2)检查信号线与接线端子

3)检测工作点,检查元器件

4)检查传感元件及引线,检查阀门,增大流量或缩小管径

5)检查清理管道,清洗传感器

输出信号不规则不稳定

1)有较强电干扰信号

2)传感器被沾污或受潮,灵敏度降低

3)传感器灵敏度过高

4)传感器受损或引线接触不良

5)出现两相流或脉动流

6)管道震动的影响

7)工艺流程不稳定

8)传感器安装不同心或密封垫凸入管内

9)上下游阀门扰动

10)流体未充满管道

11)发生体有缠绕物

12)存在气穴现象

1)加强屏蔽和接地

2)清洗或更换传感器,提高放大器增益

3)降低增益,提高触发电平

4)检查传感器及引线

5)加强工艺流程管理,消除两相流或脉动流现象

6)采限减震措施

7)调整安装位置

8)检查安装情况,改正密封垫内径

9)加长直管段或加装流动调整器

10)更换装流量传感器地点和方式

11)消除缠绕物

12)降低流速,增加管内压力

测量管泄漏

1)管内压力过高

2)公称压力选择不对

3)密封件损坏

4)传感器被腐蚀

1)调整管压,更改安装位置

2)选用高一档公称压力传感器

3)更换密封件

4)采取防腐和保护措施

测量误差大

1)直管段长度不足

2)模拟转换电路零漂或满量程调整不对

3)供电电压变化过大

4)仪表超过检定周期

5)传感器与配管内径差异较大

6)安装不同心或密封垫凸入管内

7)传感器沾污或损伤

8)有两相流或脉动流

9)管道泄漏

1)加长直管段或加装流动调整器

2)校正零点和量程刻度

3)检查电源

4)及时送检

5)检查配管内径,修正仪表系数

6)调整安装,修整密封垫

7)清洗更换传感器

8)排除两相流或脉动流

9)排除泄漏

传感器发出异常啸叫声

1)流速过高,引起强烈颤动

2)产生气穴现象

3)发生体松动

1)调整管压,更改安装位置

2)选用高一档公称压力传感器

3)更换密封件

4)采取防腐和保护措施

(6)用户不得自行更改防爆系统的接线方式和任意拧动各个输出线接头。

(7)流量计运行时,不允许随意打开前盖改动仪表参数,否则影响流量计的正常工作。

(8)不得随意松开流量计固定部分。

(9)产品在室外使用时,建议加配防水置。


返回顶部